网站首页 2026美加墨世界杯 AC空压机 高清世界杯直播在哪看的 2026美加墨世界杯出线球队 空压机应用案列 国足能否进2026世界杯 2026美加墨世界杯比赛时间 联系我们

2026年的世界杯·世界杯男主持人空压机 0512-62910301

公司总部:苏州市高新区联港路 上海营销:上海市松江区宝胜路 工厂地址:无锡市新吴区长江路 电话咨询,会安排区域人员联系

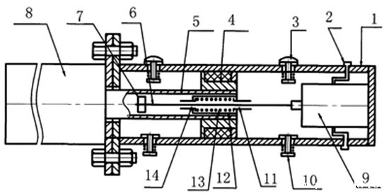
简述往复式压缩机工作原理

作者: 高清世界杯直播在哪看的 时间:2020.12.21 浏览量:3143

往复式压缩机是指通过气缸内活塞或隔膜的往复运动使缸体容积周期变化并实现气体的增压和输送的一种压缩机。属容积型压缩机。根据作往复运动的构件分为活塞式和隔膜式压缩机。

往复式压缩机工作原理

依靠气缸工作容积周期性的变化来压缩气体,以达到提高工作压力的目的。(活塞在气缸内的往复运动造成减压将气体吸入,继而将气体压缩至一定压强而将它送出)活塞式压缩机的工作原理。


压缩机是用以将低压力的气体压缩至高压力的机器,在完成这项任务时,多采用逐次的多级压缩,每级气缸中都有相同的吸气、压缩和排气过程。

1、压缩机的理论循环

气体在气缸内的理论循环,具有以下特点,即压缩机在吸气、排气时,不存在进排气阀处的压力损失,进排气过程压力处保持恒压,压缩过程指数量是一个定值,故气体在压缩时与气缸壁等处皆不发生热脚换,缸内不存在余隙容积以贮留小部分高压气体,全部气体均能排出气缸外。

2、压缩机的实际循环

有余隙容积,在压力比和膨胀指数相同的条件下,相对余隙容积增大,容积减小。一般为了提高容积效率,余隙容积要尽量减小些。

以上就是上海博莱特小编整理的往复式压缩机工作原理方面内容,如果您还有什么往复式压缩机工作原理方面的内容可以直接和我们联系!

上一篇:2020年,压缩机行业的变与不变
下一篇:2026年的世界杯·世界杯男主持人专业租赁部推出全新变压吸附式制氮机
网站首页 2026美加墨世界杯比赛分布图 高清世界杯直播在哪看的 2026美加墨世界杯出线球队 2026美加墨世界杯比赛时间 2026美加墨世界杯 2026百年世界杯
Baidu
map